[Steam Generator]
 

The Steam Generator on a Walter unit provides the motive power for the propellant pumping system so is the most important device keeping the motor delivering power.

The Walter HWK 109-509.A-1 employed an electric starter motor to energise the internal systems. The HWK 109-509.A-2 and C used a header tank of T-Stoff (peroxide) to provide the initial steam burst to spin up the propellant pump turbine, setting the power train in motion.

Between the "A-1" and "A-2" models, the construction of the steam generator is largely the same, it is merely the method of priming and sustaining the system that varies.


[Steam Generator]
 

The picture left shows the basic appearance of an "A-1" steam generator unit, as fitted to the motor in the Messerschmitt Me 163 Wkr.Nr.191660 in the Imperial War Museum site at Duxford airfield (shown here when the aeroplane was undergoing restoration). The body of the steam generator is a mild steel cylinder, 7 inches in diameter and 9 inches deep, rolled and welded to a mild steel forging which forms the closed end.

A flange at the opposite end is used to bolt on a mild steel cover plate which forms the access to the interior. An asbestos packing ring is used to seal the cover to the flange.

For the "A-1" series, the steam generator is mounted high on the port rear face of the thrust plate, held in a sprung mounting by two bolts. The accessible cover plate forms the top of the unit, to which is connected a T-Stoff delivery pipe, in the middle of which is a non-return valve. The T-Stoff is pumped into a channelled steel block into which are screwed six jets. The bored channels deliver the T-Stoff to the individual spray heads. At the end of the jets is a small disc plate with two drilled, angled holes to swirl the peroxide when it enters the steam generator chamber.

 
 
[Steam Generator A-1]
This diagramme above is adapted from a post-war dissertation on Walter motors. Compare it with the sectioned steam generator on the right.
a   the T-Stoff inlet line.
b   the T-Stoff spray jets.
c   the basket of catalyst stones.
d   the pierced grill supporting the catalyst basket.
e   the steam outlet.
[Sectioned Steam Generator A-1]
 

Tightly fitted into the body of the chamber is a wire mesh basket containing catalyst stones. The basket has a shaped top, leaving an annular gap for the T-Stoff spray to correctly atomise before it reaches the stones.

The stones themselves are formed from normal cement which is foamed, when liquid, with a 10% solution of hydrogen peroxide. When dried, this produces very porous stones, which are then impregnated with calcium permanganate and potassium chromate, the "D86" catalyst.

A basket of D86 stones will permit a throughput of 2000 to 3000 lbs (900 to 1400 kg) of T-Stoff. This represents between 10 and 15 flights. When the catalyst is nearing the end of its working life, the decomposition rate becomes unsteady, causing hunting of the turbine and fluctuations in thrust. The stones are then changed.

 
 

At the base of the steam generator is a recess in the basket to allow steam to collect before it is passed out. On the "A-1" series this is via a pipe welded circumferentially to the base, which passes forward through an aperture in the thrust plate, down to the inlet of the turbine on the propellant pump.

Also from the steam generator, a small diameter pipe passes a jet of steam rearwards to the combustion chamber for purging the combustion chamber of residual fluids prior to the beginning of main propellant delivery.

[Steam Generator in Fuselage] [Steam Generator in Fuselage]

The "A-1" steam generator can be accessed from a panel on the upper port fuselage of the Messerschmitt Me 163, providing the ability to change the catalyst stones.

 
 

In contrast, the steam generator for the "A-2" series motors is mounted lower on the same, port side of the thrust plate, but "inverted" in comparison to the "A-1" series.

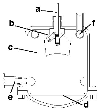
[Steam Generator A-2]
This diagramme shows the differences between the "A-1" and "A-2" motor steam generators. Compare it with the steam generator pictured above.
 
a   the T-Stoff inlet line.
b   the T-Stoff spray jets.
c   the basket of catalyst stones.
d   the grill supporting the catalyst basket.
e   the steam outlet.
f   the starting T-Stoff inlet from the header tank.
[Steam Generator A-2]

This is shown to advantage in the picture on the right, of the unit currently on show in the Museum of Flight in East Fortune in Scotland.

The bolted cover plate is on the underside. The spray jets are screwed into a steel block fitted into the inside of the steel forging which forms the top.

In the picture, you can see that this steam generator also has a second pipe (the thicker pipe, on the left in the picture, separate from the main T-Stoff delivery pipe) which drains from the T-Stoff gravity header tank. This is fed into a circumferential ring pipe fitted within the top of the steam generator unit. The ring pipe is drilled with small holes.

There are no elaborate spraying arrangements here, as the header tank output has only to produce steam for a short time, to drive the turbine to operating speed. The inefficient steam production from the starting spray is therefore tolerated for the short time that these jets are in use. The T-Stoff just pours out onto the catalyst.

 
 
[Steam Generator C]

Exactly the same arrangements for the steam generator were carried on into the "C" motor as were used in the "A-2" arrangement.

The illustration on the left here, shows the Walter HWK 109-509.C which is preserved in the RAF Museum in Cosford, England.

There is an "A-2" style T-Stoff gravity header tank, mounted above the steam generator. A large diameter feed pipe causes T-Stoff to flow into the spray ring via an inlet at the edge of the steam generator onto the catalyst stones for starting.

When the motor is reaching operating speed, T-Stoff at pressure is forced through the narrow diameter pipe onto the catalyst through the main delivery system, replacing the gravity feed.


 
All photographs © Shamus Reddin

 
 
 
Web Master Shamus Reddin   [SR Logo]
 
-: Home :- -: Me.163 :- -: Design :- -: A. T. O. :- -: Missiles :- -: Preserved Motors :-